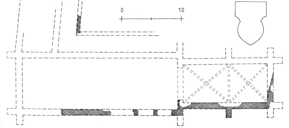
Sárospatak, ferences kolostor 

A kolostor feltárási alaprajza (J. Dankó K.)

A kolostor templomának alaprajza a XIII. században (J. Dankó K.)


Irodalom:

J. Dankó Katalin - Szekér György: A sárospataki ferences kolostor kutatása, in: Koldulórendi építészet a középkori Magyarországon. Szerk: Haris A. Bp., 1994, 359-376.